1 、浦宏海水淡化設備零部件均采用知,質量可靠。
2 、整體化程度高,易于擴展,增加膜數量即可增加處理量。
3 、浦宏海水淡化設備自動化程度高,遇故障立即自停,具有自動保護功能。
4 、脫鹽率高,可達 98 %以上。
5 、浦宏海水淡化設備能耗低,運行成本低。
6 、水利用率高,回收率達到 50 - 75 %。
7 、浦宏海水淡化設備結構合理,占地面積少。
8 、先進的膜保護系統,在設備關機時,淡化水可自動將膜表面的污染物沖洗干凈,延長膜壽命。
9 、系統無易損部件,無需大量維修,運行長期有效。
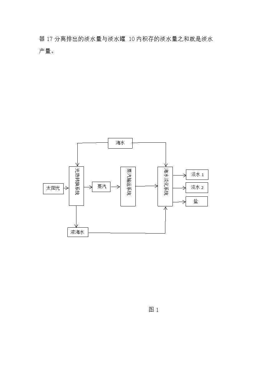
摘要:本發明提供的一種固液分離的太陽能海水淡化裝置,整合頂置加熱面太陽能蒸發技術和新型熱法海水淡化技術,開創了太陽能海水淡化蒸汽冷凝熱回收利用新技術。光熱轉換單元采用減壓蒸發技術,能盡可能多地制得蒸汽,提高太陽能利用率。固液分離的海水淡化裝置能最大限度回收利用蒸汽冷凝熱,解決了現有被動式太陽能海水淡化技術蒸汽冷凝熱不能回收利用的問題。蒸汽儲罐儲汽蓄熱或設置燃油燃氣鍋爐補充蒸汽,保證海水淡化裝置連續均衡運行。光熱板下表面加熱蒸發海水,規避了太陽能界面蒸發技術難以克服的界面鹽沉積問題,具有大規模低成本推廣應用價值。將海水分離成鹽和淡水,沒有濃海水排放,海水資源得到充分利用,對環境無污染。










蘇州浦宏環保科技有限公司是一家專注水處理設備的廠家,主要產品有RO反滲透設備,中水回用設備,EDI高純水設備,海水淡化設備,軟化水設備,超濾設備、去離子水設備,工業廢水污水處理設備等各種水處理技術的研發,設計生產、安裝調試等一體化企業。商務咨詢:178-1187-2518 王工


客服1